BASE NO LONGER SERVICED - Volkswagen (1K0-035-501-C)

BASE NO LONGER SERVICED - Volkswagen (1K0-035-501-C)

OR

Discontinued Product

No Longer Available For Purchase

Manufacturer Warranty Minimum of 12 Months
Guaranteed Fitment Always the correct parts
Shop with Confidence Your information is safe
In-House Experts We know our products

Details

  • Brand:

     Parts

  • SKU:

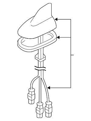
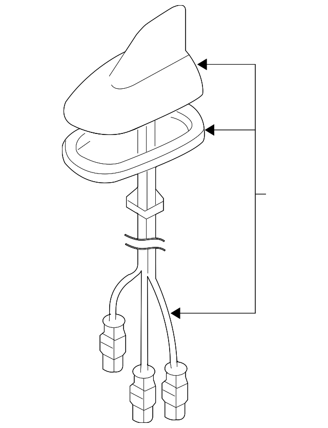
    1K0-035-501-C

  • Other Names:

    Base, Antenna Assembly

  • Description:

    MUST ORDER BASE 5N0035501A AND NEW CONNECTOR 6Q0035575K NEW MAST 5N0035849A

Vehicle Fitment

Vehicle Fitment
Year Make Model Body & Trim Engine & Transmission
( more fitments)
No fitment data available

VW Parts Center

Welcome to the home of low priced OEM Volkswagen parts at VWPartsCenter.net. Whether you’d like to personalize a new VW or find replacement parts, we’ll make the process quick and easy. We offer a comprehensive selection of Genuine VW Replacement Parts and VW Accessories.

Volkswagen

Original Equipment VW parts and accessories.